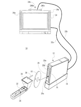
Wiiの後継機であるWii Uの特徴は、液晶タッチパッドコントローラーです。任天堂はこのWii Uコントローラーに、従来のWiiリモコンを装着可能なアクセサリーの発売を考えているようです。
機能としては、Wiiリモコンに装着されたタッチパッドに触れると、赤外線LEDが点灯してミラーに反射、コントローラーの位置データを正しく取得するといった物のようです。またタッチパッドに触れていない時には、普通のWiiリモコンとして使用できます。
任天堂はこのアクセサリーを用い、ゲームの中でタッチパッドを、ドローイングパッドやマウスポインターのように使用する計画があるようです。
関連リンク
編集部おすすめの記事
特集
任天堂 アクセスランキング
-
時期が悪いおじさんも匙投げる「今後も時期悪い」―CPU、メモリ、グラボ、SSD…PCパーツの値段の変動はどの程度
-
衝撃の事実!『ポケモン』モンスターボールの誕生に隠された“ある教授の研究”とは…
-
【特集】『星のカービィ』一番強いのはどれだ!?最強コピー能力10選
-
『桃鉄』ソロプレイ全物件制覇こそ、“おうち時間”を最高に楽しむエンドコンテンツ!ワンミスで資産が吹き飛ぶ地獄のサバイバル100年を生き延びろ
-
ヨッシーが食べる珍味10選!それ、おいしいの? それとも……。
-
『あつまれ どうぶつの森』ホラーで有名な「アイカ村」が再び夢で登場……! 恐怖の島を体験せよ
-
『デジモンユニバース アプリモンスターズ』主人公は男女選択可能! アプモン12体一挙公開
-
『The Elder Scrolls V: Skyrim』地味に記憶に残るセリフ9選!「膝に矢を受ける」だけじゃもったいない【ホワイトラン付近まで】
-
『あつまれ どうぶつの森』マルチプレイをさらに楽しむ10のコツ! 準備しておけば一緒に遊ぶのがさらに楽しく
-
『あつまれ どうぶつの森』風呂やプールに入る裏技が発見される!?いろいろな家具の中に入ってみた









